H40-5RZ

Overview

PUMP GROUP

 

BST 40.14H 5RZ 

BST 40.16 5RZ

PUMP GROUP

Standard

Optional

Theo. Conc. Output (max)

(Piston Side)

140 m³/ h

160 m³/ h

Theo. Conc. Pressure (max)

(Piston Side)

81 bar

81 bar

Stroke

26 Stroke / min

26 Stroke / min

Concrete Cylinder 

Dimensions

230 mm x 2100 mm

250 mm x 2100 mm

 

OPTIONS

  • Hopper Vibrator
  • Hydraulic Driven Fan
  • Stability Control
  • Air Compressor
  • End Hose Squeeze Valve
  • High Pressure Cleaning Kit (140 bar)
  • Betonstar IoT System
  • Remote Control (HBC)
  • Auto Unfolding
  • Water and Oil Tank Heater

 

STANDARD EQUIPMENT

Hopper Capacity : 650 l

Switching System : Elect. Magn. Sensor

Concrete Valve : S Valve System

Electric Box : Waterproof and PLC Controlled

Remote Control : Included (HETRONIC)

End Hose : 3 m 

Water Pump : 67 lpm 

Water Tank Capacity : 650 l and Hose 15 m

Lubrication System : Hydraulic (LINCOLN)

Driven by : PTO or Gear Box

 

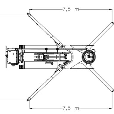
SUPPORT LEGS SYSTEM

Front Legs : X

Rear Legs : Side Hydraulic Swing

 

BOOM SYSTEM

Boom Type : 5RZ

Sections : 5

Boom Swing Time : 113 sec

Boom Swinging Angle : 365°

Concrete Pipe Diameter : 125 mm

 

CONTROL SYSTEM

  • Smartstar Control
  • Color LCD
  • Rear Keyboard
  • Diagnostic
  • Fuel Saving Mode
Media Gallery